Whoop与Garmin入局,锚定消费级健康监测新方向
本文来自微信公众号: AING硬迹 ,作者:绿松子
近日,Whoop一项新获批的专利显示,该公司正在研发一款可在身体多部位佩戴的肌氧监测设备,通过近红外光谱技术(NIRS)实时监测肌肉氧饱和度(SmO₂),该传感器可佩戴于大腿、手臂、胸部或腰部。
仅仅数日后,Garmin向美国专利商标局提交的“Muscle Battery”商标申请被曝光,其中明确提到该软件功能将“使用特殊算法捕捉、处理和分析肌肉氧饱和度或相关运动表现指标”。
几乎在同一时间,行业两大巨头Whoop与Garmin分别以专利授权和商标申请的方式,将目光看向了消费级肌肉氧监测设备。
肌肉氧饱和度反映的是肌肉组织中氧合血红蛋白与总血红蛋白的比例,直接表征肌肉局部的氧供需平衡状态。与心率、血氧饱和度等系统性指标不同,它能够揭示特定肌群的代谢状态,在耐力运动、力量训练和康复医学中有着不可替代的价值。
一条充满失败者的赛道
为什么肌肉氧至今未普及?
早在2006年,便携式无线肌氧监测设备就已问世,但过去近二十年里,市场始终被Moxy Monitor等小众专业设备主导,消费者认知度极低。Humon Hex、BSX Insight等初创公司曾尝试将这项技术带入消费级市场,但均以失败告终。
目前的幸存者中,Moxy Monitor是全球极少数拥有SmO₂科学验证的设备,被全球超过40所大学和研究机构用于肌肉氧研究,但主要面向科研和精英训练场景,并未真正进入大众消费市场。
目前肌氧监测仪市场的主要驱动力在于专业运动员、运动团队和康复专业人士等,这是一个极小的市场,但Whoop和Garmin的入局,意味着肌肉氧监测正从科研实验室和专业训练场馆,走向大众消费场景。
为什么现在是正确的时机?
过去几年间,多项独立研究陆续验证了可穿戴NIRS传感器的技术可行性。
2025年10月发表在《Bioengineering》期刊上的一项研究,使用连续波近红外光谱(CW-NIRS)传感器在耐力运动员中进行增量骑行测试,结果显示该设备与实验室金标准FDNIRS设备的个体相关性高达r=0.792,均方根差小于5%,为肌肉氧可穿戴监测提供了有力的科学背书。
SmO₂的测量原理与腕上式血氧饱和度有相似之处,但存在关键差异。两者都利用近红外光(通常采用760nm和850nm两个波长)穿透皮肤来测量血红蛋白浓度,但肌肉氧监测还需要同时测量肌红蛋白浓度,因为肌肉中的氧气输送终点是肌红蛋白。
也正是因为这种深层测量能力,肌肉氧数据能够揭示运动员的肌肉氧化代谢效率,为耐力运动、力量训练和康复监测提供重要的洞察。
这也是Whoop与Garmin均在此时入局的一大原因,心率是一个间接指标,反映的是心血管系统对运动需求的响应;而肌肉氧饱和度直接回答了运动中的肌肉正在经历什么。
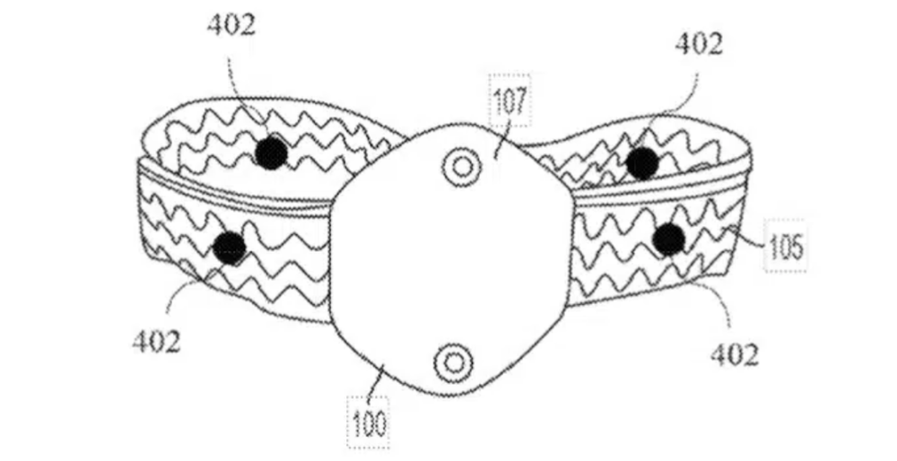
根据Whoop的专利图纸,该设备被设计为通过一条压力感应绑带固定在身体多个位置,而非传统的腕式佩戴。

不同部位的测量各有侧重:股四头肌等大肌群能够更清晰地反映运动过程中的肌肉氧利用情况,适合跑步、骑行和力量训练;而胸部或躯干区域则为心血管信号和恢复指标提供更稳定的读数。
这表示Whoop正在构建一个“自适应”监测系统,根据用户正在测量的生理指标动态选择最佳的传感器佩戴位置。
同时,Whoop还加入了压力感应绑带,光学传感器对运动干扰和接触一致性极为敏感,而压力感应可以实时检测绑带的紧度并相应调整读数。
但Whoop入局肌肉氧监测并非从零开始。2020年,Whoop收购了肌肉氧监测初创公司Humon的资产与团队,Humon联合创始人兼CTO Daniel Wiese随后成为Whoop的研发总监。
这一收购动作在五年前看起来也许只是战略储备,但在今天的专利披露中,它的战略价值终于清晰浮现。Whoop的新专利中列出的发明人,正是Humon的创始团队。
Whoop“硬件免费、订阅付费”的商业模式也为其推广肌肉氧监测功能提供了天然优势。
与Whoop细化的专利文件相比,Garmin提交的“Muscle Battery”商标申请中,将该功能描述为“捕捉、处理和分析肌肉氧饱和度或相关运动表现指标”的软件功能,并表示它将“作为个人电子设备(即可穿戴健身追踪器、智能手表和健康监测设备)的一个组成部分进行销售”。
实现这一功能需要专用的NIRS传感器硬件,而目前任何一款Garmin可穿戴设备上都不具备这一硬件,这暗示Garmin可能正在研发一款全新的产品线。
值得注意的是,这一传感器需要直接放置在用户希望测量氧饱和度的特定肌肉群上,因此它很可能不会集成在智能手表中,而是一个独立的传感器模块,测量结果可通过手表显示。
这与Whoop的多位置佩戴思路不谋而合,肌肉氧监测天然不适合腕式佩戴。
此前被曝光的产品信息显示,Garmin计划在2026年发布三款新品,其中第三款正是配备肌肉氧饱和度传感器的新设备。
此外,在最近一次与力量训练相关的用户调研中,Garmin还提及了“神经肌肉准备评分”“恢复肌肉图谱”和“急性力量负荷”等多个与肌肉相关的概念构想。种种迹象表明,Garmin在肌肉相关生理监测领域已有系统性布局。
可穿戴设备的“第二曲线”
纵观可穿戴设备的发展史,从最初的计步器,到光学心率传感器的普及,再到血氧、ECG、血压监测的逐步加入,消费级可穿戴设备的演进始终沿着“获取更多、更深的生理信号”这一主线推进。
而肌肉氧监测的即将入场,意味着可穿戴设备正在从心率、血氧、睡眠等“全身性间接指标”,向更具靶向性的“局部组织直接测量”迈进。
#Whoop与Garmin入局锚定消费级健康监测新方向